Prístroje do kruhových výrezov
Analógové prístroje do kruhových výrezov BN a CN slúžia prevažne na montáž do rôznych kontrolných zariadení. Presnosť je 1,5%, stupnici NELZE vymeniť.
Prístroje CN slúžia na meranie AC veličín.
Prístroje BN slúžia na meranie DC veličín.

Popis produktu
Meracie rozsahy prístrojov BN a CN 0x03
| Merací rozsah | BN 0103 | BN 0203 | CN 0103 | CN 0203 |
| DC | DC | AC | AC | |
| 0 - 40 µA ... 60 µA | • | • | - | - |
| 0 - 100 µA ... 600 µA | • | • | • | • |
| 0 - 1 mA ...10 mA | • | • | • | • |
| 0 -15 mA ... 600 mA | • | • | - | - |
| 4 - 20 mA3) | • | • | - | - |
| 0 -1 A ... 6 A | • | • | - | - |
| 0 -10 A ... 25 A | • | • | - | - |
| 0 - 40 A, 60 A | • | • | - | - |
| N = x/1 A, x/5 A2) | - | - | • | • |
| 0 - 60 mV1) | • | • | - | - |
| 0 - 100 mV ... 600 mV | • | • | - | - |
| 0 - 1 V ... 600 V | • | • | • | • |
1) prístroj na pripojenie k externému bočníku
2) prístroj na pripojenie meracím transformátorom prúdu (MTP)
3) prístroj s elektricky potlačenou nulou
Prístroj s mechanicky potlačenou nulou je na vyžiadanie.
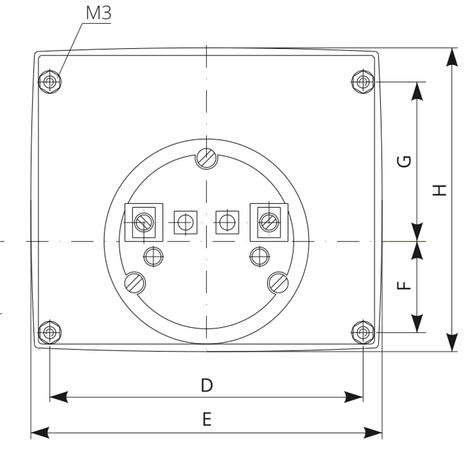
Technické parametre
| Typ prístroja | Čelný rámček | Rozmery (mm) | |||||||
| A | C | D | E | F | G | H | |||
| BN 0103 | 86 x 72 | pro rozsah od 7,5 do 60 A | 13 | 11,5 | 64±0,2 | 85 | 25±0,2 | 25±0,2 | 75 |
| BN 0103 | 86 x 72 | 16,5 | 11,5 | 64±0,2 | 85 | 25±0,2 | 25±0,2 | 75 | |
| BN 0203 | 115 x 96 | pro rozsah od 7,5 do 60 A | 13 | 16 | 103±0,2 | 105 | 31±0,2 | 51±0,2 | 96 |
| BN 0203 | 115 x 96 | 16,5 | 16 | 103±0,2 | 150 | 31±0,2 | 51±0,2 | 96 | |
| CN 0103 | 86 x 72 | 13 | 11,5 | 64±0,2 | 85 | 25±0,2 | 25±0,2 | 72 | |
| CN 0203 | 115 x 72 | 13 | 16 | 103±0,2 | 105 | 51±0,2 | 51±0,2 | 96 | |
Súbory na stiahnutie
Články a informácie
Mohlo by vás zaujímať
Podujatia

Novinky

Odborné články



















